Kandungan rekod yang ditawan di dalam aplikasi DDMS. Share buku tatacara kewangan sekolah 2012 everywhere for free.

Application For Live Adult Shrimp Import Approval Into The Country Department Of Fisheries Malaysia Official Portal
Contoh pengisian borang KEW.

Carta alir tatacara rekod surat. Pengurusan Surat Dan Dokumen Kewangan Bahagian 6 2 1 Carta Aliran Kerja Prosedur Sistem Fail. Panduan ini adalah selaras dengan peruntukan seksyen 7 h Akta Arkib Negara 2003 Akta 629 dan MS 2223-12009 dan MS. Interested in flipbooks about buku tatacara kewangan sekolah 2012.
PA-2 dan KEWPA-4 boleh dirujuk pada muka surat 7 8 dan 9. Carta Alir Tatacara Rekod Surat Dapatkan link. Iii Sekiranya pengguna tersilap menawan rekod atau tersilap mengisi metadata di daam aplikasi DDMS pengguna perlu memberitahu Unit Rekod dengan segera bagi membetukan penawanan surat serta kesilapan pengisian metadata tersebut.
Https Www Miti Gov My Miti Resources Pengurusan 20rekod Prosedur Standard. LAIN-LAIN KOLEKSI SURAT PEKELILING SURAT ARAHAN GARIS PANDUAN BOLEH DI MUAT TURUN MELALUI. TATACARA PELUPUSAN BUKU PUSAT SUMBER SEKOLAH CARTA ALIR PELUPUSAN REKOD TERBITAN BAHAN BERCETAK BAHAN AUDIO VISUAL PIHAK YANG BERTANGGUNGJAWAB PROSES PENJELASAN Sekolah yang berkenaan Jawatankuasa Pilih Buang Pelupusan Sekolah yang berkenaan Sekolah yang berkenaan Sekolah yang berkenaan Arkib Negara Jabatan.
BORANG SPBT G 2019. Prose Pen Gurus An Failsmp02. Tatacara Pelupusan Rekod Awam -.
Asingkan suratdokumen mengikut BahagianUnit Bahagian dan pegawai yang dituju 6. Https Jksns Ns Gov My Images Unit Rekod Panduan Pengendalian Fail Pdf. 3 23 KANDUNGAN MUKASURAT 1.
Manual Perlaksanaan Sistem SPA Muka Surat 4 Kementerian Kewangan Malaysia PANDUAN PENGURUSAN ASET ALIH DAN STOR BERDASARKAN PENGGUNAAN SISTEM PENGURUSAN. Kkmoh Pk S01 Prosedur Pengurusan Rekod Pindaan 3. Tatacara pengurusan aset alih kerajaan kandungan tajuk perenggan muka surat pendahuluan 1 tatacara pengurusan aset alih kerajaan tpa bab a penerimaan 1-2 3 kewpa-1 borang laporan penerimaan aset alih kerajaan 5 bab b pendaftaran 3-13 6 jadual 1 carta aliran pendaftaran aset alih kerajaan 12 jadual 2 proses kerja pendaftaran aset alih kerajaan 13 bahagian a.
Portal Rasmi Hoshas Permohonan Laporan Perubatan. Https Jksns Ns Gov My Images Unit Rekod Panduan Pengendalian Fail Pdf. CARTA ALIR 30PELUPUSAN REKOD AWAM CARTA ALIR PROSEDUR KERJA TANGGUNGJAWAB REKOD DOKUMEN 301 Kenalpasti rekod kualiti yang digunakan atau dihasilkan di Klinik Kesihatan Unit masing-masing Ketua 302 Semua Dokumen hendaklah didaftarkan di bahagian rekod 303 Memastikan rekod disimpan ditempat yang selamat mudah diselenggara.
Carta Alir Pelupusan Rekod Berdasarkan JPR JPR Urusan Am JPR Kewangan Perakaunan JPR Urusan Fungsian Kenalpasti siri rekod berdasarkan Jadual Pelupusan Rekod Asingkan rekod yang memenuhi tempoh simpanan dlm JPR dan susun ikut siri Hantar borang beserta surat ke Arkib Negara PEMUSNAHAN Senaraikan menggunakan. Tindakan dan Tanggungjawab 7. Https Jksns Ns Gov My Images Unit Rekod Panduan Pengendalian Fail Pdf.
Suruhanjaya Perkhidmatan Awam Malaysia Carta Aliran. Carta Alir Cara Rekod Surat Keluar Masuk Get link. Sila rujuk carta aliran penawanan surat masuk di lampiran 6 11.
Melakukan proses pilih buang weeding process terlebih dahulu untuk menentukan bahan yang hendak dilupus benar-benar sesuai untuk dimusnahkan dan dikeluarkan dari rekod simpanan. Rekod Lajer Stok 51 Carta Alir Proses Penerimaan Barang 54 Permohonan Pengeluaran Barang 54 Kawalan dan verifikasi stok 58 Pelupusan dan Hapuskira 59 Laporan Stor 60. Https Jksns Ns Gov My Images Unit Rekod Panduan Pengendalian Fail Pdf.
PERKARA MUKA SURAT Prakata BAHAGIAN I 1. You have just read the article. Https Www Miti Gov My Miti Resources Pengurusan 20rekod Prosedur Standard Tatacara Penggunaan Sampul Kecil Di Pejabat Awam Pdf.
PPK Perakuan Pendaftaran Kontraktor. Pengurusan Surat Dan Dokumen Kewangan Bahagian 6 2 1 Carta Aliran Kerja Prosedur Sistem Fail. 74 Daftar Inventori KEW.
Menyenaraikan bahan Pusat Sumber Sekolah yang hendak dilupus menggunakan borang yang. Prosedur Surat Menyurat Dan Dokumentasi Khidmat Masyarakat. Panduan Pengendalian Fail.
Bil tindakan prosedur catatan 1 hantar sampel 1 hospital kerajaan atau jabatan kimia. Tatacara Lantikan Terus. Carta alir tatacara penghantaran sampel air kencing tatacara penghantaran sampel urin ke hospital kerajaan atau jabatan kimia untuk mendapatkan keputusan.
Rekod Jabatan PTRJ 1 3 5 2 4 6 Seksyen 2C Akta Rahsia Rasmi 1972 Berdasarkan Para 42 43 Buku Arahan Keselamatan Berdasarkan PP 52007 Panduan Pengurusan Pejabat Seksyen 2B Akta Rahsia Rasmi 1972 Berdasarkan Buku Arahan Keselamatan Berdasarkan nasihat Arkib mengelaskan semula dokumen terperingkat yang dimulakan menguruskan pendaftaran. View flipping ebook version of buku tatacara kewangan sekolah 2012 published by roszelan on 2017-11-28. Tatacara yang harus dipatuhi untuk melaksanakan proses pelupusan adalah.
Gred G1 CIDB SPKK Sijil Taraf Bumiputera. Berterusan panduan ini disediakan untuk menerangkan mengenai kaedah atau tatacara dan amalan pengendalian fail rasmi di jabatan dan agensi kerajaan. Https Www Risda Gov My Images Pdf Pekeliling Ap 2019 Ap2019 17 Pdf.
Surat dokumen yang diterima hendaklah didaftarkan dalam BUKU DAFTAR SURAT MENYURAT AM. SURAT ARAHAN PENTADBIRAN-TEMPOH GPSPBT. Carta aliran penerimaan dan pendaftaran surat rasmi seperti berikut.
KELAYAKAN MEMINJAM BAWAH SPBT. Daftar dan rekod suratdokumen Pos Biasa ke dalam buku daftar Buku Daftar Surat Menyurat Am 10- Pin. Masukkan suratdokumen ke dalam petak pigeon hole mengikut BahagianUnit.
Panduan Pengurusan Rekod Awam Membalik Buku Halaman 151 200 Pubhtml5. Panduan Pengendalian Fail. Suruhanjaya Perkhidmatan Awam Malaysia Carta Aliran.
PA-5 Inventori ialah Aset Alih yang harga perolehan asalnya kurang daripada RM100000. Https Www Miti Gov My Miti Resources Pengurusan 20rekod Prosedur Standard Tatacara Penggunaan Sampul Kecil Di Pejabat Awam Pdf. Http Www Bheuu Gov My Ddms Ddms 20 20panduan 20penuh 20pengguna 20 20 20bheuu 202018 20 1 Pdf.
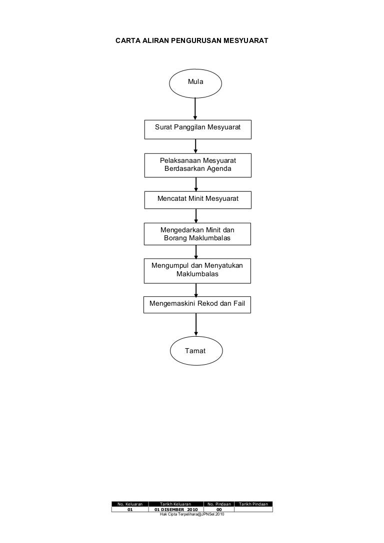
Macam mana hendak laksana. CARTA ALIR PENGURUSAN MESYUARAT Mula Tindakan Pramesyuarat -tentukan tarikh masa tempat agenda kertas kerja surat panggilan persediaan kemudahan bilik mesyuarat dan menentukan kehadiran Surat Panggilan Mesyuarat -mengandungi nama mesyuarat ahli jawatankuasa tarikh masa tempat pengerusi dan agenda RUJUK CONTOH SPSK PK07. Panduan Pembukaan Dan Penutupan Fail Pdf Document.
Https Www Miti Gov My Miti Resources Pengurusan 20rekod Prosedur Standard Tatacara Penggunaan Sampul Kecil Di Pejabat Awam Pdf. Proses perolehan yang senang dan cepat untuk dilaksanakan. SPKK Sijil Perolehan Kerja Kerajaan.
Kontraktor Lantikan Terus. Menerangkan prosedur dan tatacara penerimaan dan penghantaran surat. Lampiran 1 - Carta Alir Pemindahan Rekod Awam Lampiran 2 - Borang Arkib 1108 Borang Permohonan Bagi Pemindahan Rekod Awam Lampiran 2a - Penerangan Borang Arkib 1108 Lampiran 2b - Contoh Borang Arkib 1108 yang telah lengkap diisi Lampiran 3 - Contoh Surat Penangguhan Pemindahan Rekod Awam.
Senang Cepat. PUKONSA Sijil Pusat Kontraktor Sabah. 4 rekod dalam buku rekod urin.
Para Muka Surat Bentuk Pindaan Diluluskan. Check more flip ebooks related to buku tatacara kewangan sekolah 2012 of roszelan. 01 PENGAMBILAN KAKITANGAN BARU NO.
Panduan Pembukaan Dan Penutupan Fail Pdf Document. Rajah 71 dan Jadual 71 menunjukkan carta alir dan proses pendaftaran aset alih kerajaan. Panduan Pengurusan Rekod Awam Membalik Buku Halaman 151 200 Pubhtml5.
Page 12 43 Surat Dokumen Terperingkat Serahkan surat dokumen yang diterima dari Kementerian Jabatan Agensi kepada Unit Pendaftaran Sulit untuk cop penerimaan dan tarikh terimaan. 00 TARIKH KUATKUASA. Pdf Carta Alir Pengurusan Mesyuarat Athisvaran Thangadurai Academia Edu.

Kpm Carta Alir Pengurusan Aduan Kementerian Pendidikan Malaysia Aduan Awam

Kit Pantas Panduan Pengurusan Rekod Mof Membalik Buku Halaman 51 100 Pubhtml5